
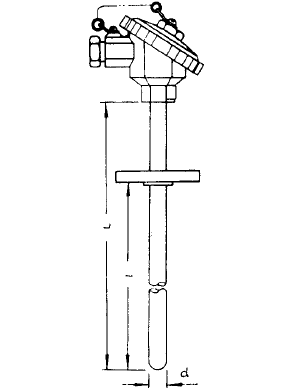
WZP2-431固定法蘭防水雙支裝配式熱電阻簡介
上海自動化儀表三廠生產的WZP2-431固定法蘭防水雙支裝配式熱電阻是中低溫區最常用的一種溫度檢測儀表。熱電阻測溫是基于金屬導體的電阻值隨溫度的增加而增加這一特性來進行溫度測量的。它具有結構簡單,制作方便,測量精度高,性能穩定,輸出信號大等優點。它可以直接測量各種生產過程中從-200℃至420℃范圍內的液體、氣體及固體表溫度,還可以和顯示儀表、記錄儀表和電子調節器配套使用。
WZP2-431固定法蘭防水雙支裝配式熱電阻主要技術參數
◆測量范圍:-200~420℃
◆分度號:雙支Pt100
◆精度等級:A級 ±(0.15℃+0.005|t|),B級 ±(0.30℃+0.005|t|)
◆保護管直徑:Φ12(特殊外徑請注明)
◆保護管材質:不銹鋼304,321,316,316L其它材質請注明
◆熱電阻接線:二線制接線,三線制接線,四線制接線。
◆熱響應時間:T0.5≤30S(在溫度出現階躍變化時,熱電阻的輸出變化至相當于該變化的50%,所需要的時間稱為熱響應時間,用T0.5表示)。
◆熱阻阻公稱壓力:2.5MPa(一般是指在室溫情況下保護管所能承受的靜態外壓而不破裂。實際上,容許工作壓力不僅與保護管材料、直徑壁厚有關,還與其結構形式,安裝方法,置入深度以及被測介質的流速和種類等有關)。
◆熱電阻最小置入深度:l=75mm或不小于其保護管外徑的8-10倍(特殊產品例外)。
◆熱電阻自熱影響:通過熱電阻中測量電流5mA時,測得的電阻增量換算成溫度值應不大于0.30℃。
◆熱電阻絕緣電阻:常溫絕緣電阻的試驗電壓可取直流10~100V任意值,環境溫度在15~35℃范圍內,相對濕度應不大于80%。常溫絕緣電阻值應不小于100MΩ。
◆執行標準:JB/T8622-1997及JB/T8623-1997標準。
熱電阻工作原理
熱電阻分為鉑熱電阻和銅熱電阻兩大類。熱電阻是利用金屬導體的電阻值隨溫度變化而變化的特性來測量溫度的。熱電阻的受熱部分(感溫元件)是用金屬絲均勻地雙繞在絕緣材料制成的骨架上而制成的。當被測介質有溫度階梯存在時,所測得的溫度是感溫元件所在范圍內介質的平均溫度。為了適應工業需求的多樣化,現在已開始采用鎳、錳等材料制造熱電阻。熱電阻通常需要把電阻信號通過引線連接到顯示儀表,記錄儀表或計算機上。
熱電阻使用選型

型號舉例:
WZP-430表示分度號為Pt100固定法蘭帶防水式接線盒,保護管為Φ16mm裝配式熱電阻,可為雙支
WZP-431表示分度號為Pt100固定法蘭帶防水式接線盒,保護管為Φ12mm裝配式熱電阻,可為雙支
WZP-420表示分度號為Pt100固定法蘭帶防濺式接線盒,保護管為Φ16mm裝配式熱電阻,可為雙支
WZP-421表示分度號為Pt100固定法蘭帶防濺式接線盒,保護管為Φ12mm裝配式熱電阻,可為雙支
WZC-420表示分度號為Cu50固定法蘭帶防濺式接線盒,保護管為Φ12mm裝配式銅電阻
WZC-430表示分度號為Cu50固定法蘭帶防水式接線盒,保護管為Φ12mm裝配式銅電阻
另外訂購時還需提供插深,量程,材質,壓力等參數
熱電阻安裝圖片
WZP2-431固定法蘭防水雙支裝配式熱電阻(d=12mm,法蘭外徑95,中心距65)



客服1