
WRNR-14電站測溫用中溫中壓熱電偶簡介
本廠測溫儀表的專業生產廠,具有三十多年的生產歷史,雄厚的設計力量和精湛的制造技術,一九八三年,我廠被原機械工業部定點為我國30萬、60萬千瓦等發電機組及輔機提供配套測溫儀表,隨著我國電力工業的不斷發展,急需各種適用于電站的熱電偶熱電阻,以代替進口。上海自動化儀表三廠先后引進了專業制造技術和設備,并在原有產品基礎上,參考美國的EBASCO規格,對產品進行重新設計,增加了新的品種,使整個配套系列的品種、規格完全符合國產或引進的30萬、60萬千瓦發電機組以及國內其它機組配套需要,并以優異的質量來滿足市場。
WRNR-14電站測溫用中溫中壓熱電偶主要技術參數
◆測量范圍:0-600℃
◆分度號:K分度
◆精度等級:Ⅰ級(±1.5℃或±0.004|t|)Ⅱ級(±2.5℃或±0.0075|t|)
◆熱電偶類別:鎳鉻-鎳硅
◆保護管材質:不銹鋼304,321,316或其它
◆保護管插深:50mm,100mm,150mm,200mm,250mm,300mm等
◆熱響應時間:T0.5<90S(在溫度出現階躍變化時,熱電偶的輸出變化至相當于該變化的50%,所需要的時間稱為熱響應時間,用T0.5表示)。
◆熱電偶公稱壓力:≤14.70MPa(一般是指在室溫情況下保護管所能承受的靜態外壓而不破裂。實際上容許工作壓力不僅與保護管材料、直徑壁厚有關,還與其結構形式,安裝方法,置入深度以及被測介質的流速和種類等有關)。
◆熱電偶流速:≤30m/s
◆熱電偶絕緣電阻(常溫):常溫絕緣電阻的試驗電壓為直流500V±50V,大氣條件為溫度15~35℃,相對濕度45%,大氣壓力86~106kPa,它的常溫絕緣值應≥100MΩ。
◆執行標準:JB/T9238-1999和JB/T8622-1997標準
熱電偶工作原理
當有兩種不同的導體,其兩端相互焊接時,兩結點處的溫度不同,一端溫度為測量端或工作端,另一端溫度為自由端或冷端,當兩端溫度存在溫差時,就會在回路時產生熱電流,配上顯示儀表,儀表上就能顯示出熱電偶所產生的熱電動勢的對應溫度值。熱電偶的熱電動勢將隨著測量端或工作端的溫度升高而增長,熱電偶的熱電動勢的大小只和導體材質及兩端溫差有關,和導體的長度、直徑無關。
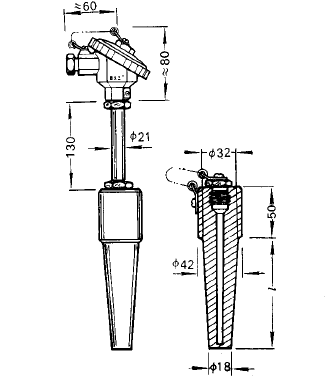
熱電偶安裝圖片
◆WRNR-14電站測溫用中溫中壓熱電偶(保護管II型)



客服1